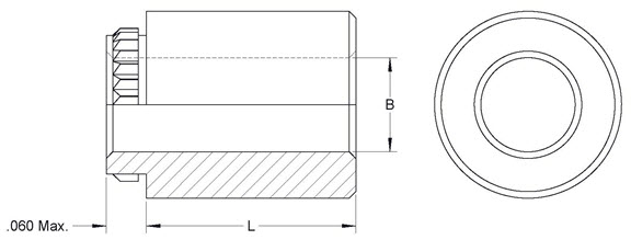
TD Broaching Self-clinching Standoffs


Product PDF