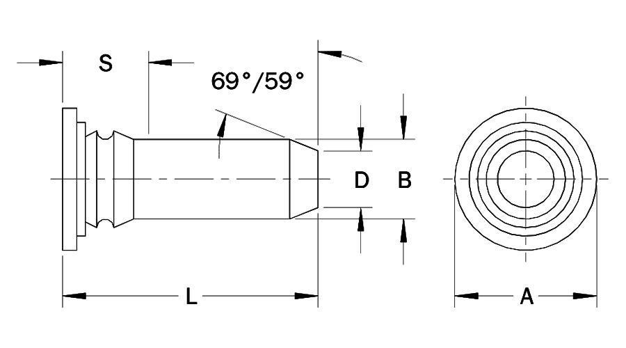
GT Self-clinching Pilot Pins

GT Self-clinching Pilot Pins


Features

  • Satisfy a wide variety of alignment, location and pivot applications.
  • Self-clinching design installs easily and permanently with a flush appearance on the back of thin panels and sheets.
  • Available in a variety of RoHS-compliant materials and finishes.

3D files available upon request.